QR कोड
आमच्याबद्दल
उत्पादने
आमच्याशी संपर्क साधा


फॅक्स
+86-574-87168065

ई-मेल

पत्ता
Luotuo औद्योगिक क्षेत्र, Zhenhai जिल्हा, Ningbo शहर, चीन
Raydafon's SWC-BH स्टँडर्ड फ्लेक्स वेल्डिंग प्रकार युनिव्हर्सल कपलिंग हे विशेषत: हेवी-ड्युटी टॉर्क ट्रान्सफरसाठी जड मशिनरी परिस्थितीची मागणी करण्यासाठी इंजिनिअर केले आहे—विचार करा रोलिंग मिल्स, क्रेन आणि खाण उपकरणे जे सतत उच्च तणावाखाली काम करतात.
हे मुख्य डिझाइन वैशिष्ट्य म्हणून वेल्डेड योकसह येते आणि त्याचा जिरेशन व्यास व्यावहारिक श्रेणी व्यापतो: 180 मिमी ते 620 मिमी पर्यंत. कठीण कामांसाठी ते वेगळे ठरवते ते म्हणजे 15 अंशांपर्यंतचे कोनीय चुकीचे संरेखन हाताळण्याची त्याची क्षमता, तसेच ते 1250 kN·m इतके टॉर्क लोड घेऊ शकते—दोन्ही कठोर कामकाजाच्या परिस्थितीतही ऑपरेशन्स स्थिर ठेवण्यासाठी महत्त्वपूर्ण आहेत.
बिल्ड गुणवत्तेवर टिकाऊपणावर लक्ष केंद्रित केले जाते: युग्मन दीर्घकाळ टिकणाऱ्या कडकपणासाठी उच्च-शक्तीचे 35CrMo स्टील वापरते, कालांतराने गुळगुळीत, विश्वासार्ह कामगिरी सुनिश्चित करण्यासाठी अचूक सुई बेअरिंगसह जोडलेले आहे. यामुळे दोन प्रमुख गरजांसाठी निवड करणे शक्य होते: जड यंत्रसामग्रीसाठी तयार केलेले सार्वत्रिक कपलिंग आणि औद्योगिक-श्रेणीच्या अनुप्रयोगांसाठी अनुकूल वेल्डेड युनिव्हर्सल कपलिंग्ज.
Raydafon हे कपलिंग चीनमध्ये बनवते आणि सातत्यपूर्ण गुणवत्तेची हमी देण्यासाठी सर्व उत्पादन ISO 9001 मानकांचे पालन करते. सर्वात वरती, ते विशिष्ट आवश्यकतांमध्ये बसण्यासाठी सानुकूल पर्याय ऑफर करते—सर्व किमतींमध्ये जे विश्वासार्हता आणि मूल्य दोन्ही शोधत असलेल्या व्यवसायांसाठी स्पर्धात्मक राहतात.
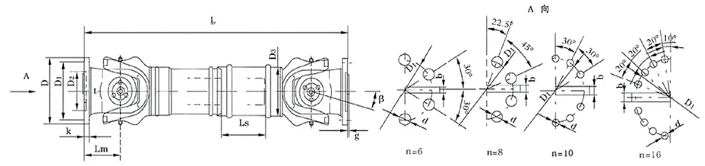
| नाही. | गायरेशन व्यास डी मिमी | नाममात्र टॉर्क Tn KN·m | अक्ष दुमडलेला कोन β (°) | थकलेला टॉर्क Tf KN·m | फ्लेक्सचे प्रमाण Ls मिमी | आकार (मिमी) | फिरती जडत्व kg.m2 | वजन (किलो) | |||||||||||
| लमिन | D1 (js11) | D2 (H7) | D3 | Lm | n-d | k | t | b (h9) | g | लमिन | वाढवा 100 मिमी | लमिन | वाढवा 100 मिमी | ||||||
| SWC58BH | 58 | 0.15 | 0.075 | ≤२२ | 35 | 325 | 47 | 30 | 38 | 35 | 4-5 | 3.5 | 1.5 | - | - | - | - | 2.2 | - |
| SWC65BH | 65 | 0.25 | 0.125 | ≤२२ | 40 | 360 | 52 | 35 | 42 | 46 | 4-6 | 4.5 | 1.7 | - | - | - | - | 3 | - |
| SWC75BH | 75 | 0.5 | 0.25 | ≤२२ | 40 | 395 | 62 | 42 | 50 | 58 | 6-6 | 5.5 | 2 | - | - | - | - | 5 | - |
| SWC90BH | 90 | 1 | 0.5 | ≤२२ | 45 | 435 | 74.5 | 47 | 54 | 58 | 4-8 | 6 | 2.5 | - | - | - | - | 6.6 | - |
| SWC100BH | 100 | 1.5 | 0.75 | ≤25 | 55 | 390 | 84 | 57 | 60 | 58 | 6-9 | 7 | 2.5 | - | - | 0.0044 | 0.00019 | 6.1 | 0.35 |
| SWC120BH | 120 | 2.5 | 1.25 | ≤25 | 80 | 485 | 102 | 75 | 70 | 68 | 8-11 | 8 | 2.5 | - | - | 0.0109 | 0.00044 | 10.8 | 0.55 |
| SWC150BH | 150 | 5 | 2.5 | ≤25 | 80 | 590 | 13 | 90 | 89 | 80 | 8-13 | 10 | 3 | - | - | 0.0423 | 0.00157 | 24.5 | 0.85 |
| SWC160BH | 160 | 10 | 5 | ≤25 | 80 | 660 | 137 | 100 | 95 | 110 | 8-17 | 15 | 3 | 20 | 12 | 0.145 | 0.006 | 68 | 1.72 |
| SWC180BH | 180 | 20 | 10 | ≤25 | 100 | 810 | 155 | 105 | 114 | 130 | 8-17 | 17 | 5 | 24 | 14 | 0.175 | 0.007 | 70 | 2.8 |
| SWC200BH | 200 | 32 | 16 | ≤१५ | 110 | 860 | 170 | 120 | 127 | 135 | 8-17 | 19 | 5 | 28 | 16 | 0.31 | 0.013 | 86 | 3.6 |
| SWC225BH | 225 | 40 | 20 | ≤१५ | 140 | 920 | 196 | 135 | 152 | 120 | 8-17 | 20 | 5 | 32 | 9 | 0.538 | 0.0234 | 122 | 4.9 |
| SWC250BH | 250 | 63 | 31.5 | ≤१५ | 140 | 1035 | 218 | 150 | 168 | 140 | 8-19 | 25 | 6 | 40 | 12.5 | 0.966 | 0.0277 | 172 | 5.3 |
| SWC285BH | 285 | 90 | 45 | ≤१५ | 140 | 1190 | 245 | 170 | 194 | 160 | 8-21 | 27 | 7 | 40 | 15 | 2.011 | 0.051 | 263 | 6.3 |
| SWC315BH | 315 | 125 | 63 | ≤१५ | 140 | 1315 | 280 | 185 | 219 | 180 | 10-23 | 32 | 8 | 40 | 15 | 3.605 | 0.0795 | 382 | 8 |
| SWC350BH | 350 | 180 | 90 | ≤१५ | 150 | 1410 | 310 | 210 | 267 | 194 | 10-23 | 35 | 8 | 50 | 16 | 7.053 | 0.2219 | 582 | 15 |
| SWC390BH | 390 | 250 | 125 | ≤१५ | 170 | 1590 | 345 | 235 | 267 | 215 | 10-25 | 40 | 8 | 70 | 18 | 12.164 | 0.2219 | 738 | 15 |
| SWC440BH | 440 | 355 | 180 | ≤१५ | 190 | 1875 | 390 | 255 | 325 | 260 | 16-28 | 42 | 10 | 80 | 20 | 21.42 | 0.4744 | 1190 | 21.7 |
| SWC490BH | 490 | 500 | 250 | ≤१५ | 190 | 1985 | 435 | 275 | 325 | 270 | 16-31 | 47 | 12 | 90 | 22.5 | 32.86 | 0.4744 | 1452 | 21.7 |
| SWC550BH | 550 | 710 | 355 | ≤१५ | 240 | 2300 | 492 | 320 | 426 | 305 | 16-31 | 50 | 12 | 100 | 22.5 | 68.92 | 1.357 | 2380 | 34 |
जेव्हा आपण हेवी-ड्यूटी औद्योगिक गियरबद्दल बोलतो जे वीज विश्वसनीयरित्या प्रवाहित ठेवते, तेव्हा SWC युनिव्हर्सल जॉइंट कपलिंग (ज्याला SWC कार्डन शाफ्ट युनिव्हर्सल जॉइंट कपलिंग म्हणतात) हा एक नॉन-निगोशिएबल भाग आहे. रोलिंग मिल्स, हॉस्टिंग मशिनरी आणि सर्व प्रकारच्या कठीण हेवी मशिनरी सिस्टीम्स यांसारख्या सेटअपमध्ये तुम्हाला काम करणे कठीण जाईल - अशा ठिकाणी जेथे पॉवर ट्रान्समिशनवर कोपरे कापणे हा पर्याय नाही.
त्याचे मुख्य काम? दोन ट्रान्समिशन शाफ्ट्स कनेक्ट करा जे पूर्णपणे ओळीत नाहीत (नॉन-इन्सिडेंट अक्ष) आणि ऑपरेटिंग परिस्थिती उग्र असतानाही पॉवर कोणत्याही अडथळ्याशिवाय फिरत राहते याची खात्री करा. कोणतीही अडचण नाही, ब्रेक नाही—जेव्हा सर्वात महत्त्वाचे असते तेव्हा फक्त स्थिर हस्तांतरण.
हे कार्यप्रदर्शन शक्य करणाऱ्या मुख्य वैशिष्ट्यांचे खंडन करूया:
गायरेशन व्यास: φ58 ते φ620 पर्यंत श्रेणी, औद्योगिक गरजा पूर्ण करते. नाममात्र टॉर्क: 0.15 kN·m ते 1000 kN·m पर्यंत कोठेही हाताळते - अगदी उच्च-टॉर्कच्या मागणीसाठी पुरेसे स्नायू. अक्ष फोल्ड एंगल: 5 फूट कोन पूर्ण न करता, 5 फूट 2 मीटर पर्यंत कार्य करू शकतात. उत्तम प्रकारे संरेखित रहा.
ते सर्वात जास्त कुठे दिसते? रोलिंग मिल ऑपरेशन्सचा विचार करा—जेथे ते विश्वासार्ह हेवी-ड्यूटी युनिव्हर्सल जॉइंट कपलिंग म्हणून कार्य करते जे मिलच्या तीव्र दबावाखाली टिकून राहते. किंवा लिफ्टिंग आणि मटेरियल हाताळणी उपकरणांमध्ये, जेथे टिकाऊ SWC युनिव्हर्सल जॉइंट शाफ्ट कपलिंग म्हणून, भार तीव्र असतानाही ते गोष्टी स्थिर ठेवते. हे फक्त कार्य करत नाही - जेव्हा कठीण होते तेव्हा ते ऑपरेशन्स स्थिर ठेवते.
SWC युनिव्हर्सल जॉइंट कपलिंग केवळ एकत्र फेकले जात नाही - ते औद्योगिक सेटिंग्जमध्ये कठोरपणे उभे राहण्यासाठी जमिनीपासून इंजिनियर केलेले आहे, ज्या वैशिष्ट्यांसह कार्यप्रदर्शन आणि दीर्घायुष्य दोन्ही वाढवतात. त्याची रचना इतकी चांगली कशामुळे कार्य करते यावर बारकाईने नजर टाकूया.
स्मार्ट, सुरक्षित डिझाइन
त्याच्या केंद्रस्थानी एकात्मिक फोर्क हेड डिझाइन आहे—येथे बोल्टने एकत्र धरलेले कोणतेही वेगळे तुकडे नाहीत. हे महत्त्वाचे आहे कारण ते बोल्ट सैल होण्याचा किंवा तुटण्याचा धोका कमी करते, इतर सेटअपसह एक सामान्य डोकेदुखी. खरेतर, जुन्या शैलींच्या तुलनेत हे डिझाइन स्ट्रक्चरल ताकद 30% ते 50% पर्यंत वाढवते. जड मशिनरी युनिव्हर्सल जॉइंट कपलिंगवर अवलंबून असलेल्या प्रत्येकासाठी, याचा अर्थ जेव्हा गोष्टी तीव्र होतात तेव्हा कमी ब्रेकडाउन होतात. हा एक प्रकारचा मजबूत युनिव्हर्सल जॉइंट कपलिंग आहे जो सुरळीतपणे चालू राहतो, अगदी उच्च-ताणाच्या वातावरणातही जेथे इतर भाग अयशस्वी होऊ शकतात.
भार वाहून नेण्यासाठी बांधले
हा तुमचा सरासरी कनेक्टर नाही. SWC हेवी-ड्यूटी युनिव्हर्सल जॉइंट कपलिंग गंभीर वजन हाताळण्यासाठी बनवले जाते—विचार करा खाण गियर, बांधकाम यंत्रे आणि इतर हेवी हिटर्स. जेव्हा तुम्हाला खडबडीत युनिव्हर्सल जॉइंट कपलिंगची आवश्यकता असते जे दबावाखाली मागे पडणार नाही, तेव्हा हेच वितरित करते. हे फक्त आकाराबद्दल नाही; हे साहित्य आणि अभियांत्रिकी बद्दल आहे जे जलद न थकता वजन उचलण्यासाठी एकत्र काम करतात.
पॉवर कार्यक्षमतेने हलवते
मोठ्या औद्योगिक सेटअपमध्ये सर्व ऊर्जा कुठे जाते याचा कधी विचार केला आहे? इथे फार काही वाया जात नाही. हे उच्च-टॉर्क युनिव्हर्सल जॉइंट कपलिंग 98.6% पर्यंत कार्यक्षमतेची पातळी गाठते, याचा अर्थ उष्णता किंवा घर्षण म्हणून कमी ऊर्जा गमावली जाते. खर्च कमी करण्याच्या विचारात असलेल्या ऑपरेशनसाठी, हा एक मोठा विजय आहे. हे एक प्रकारचे कार्यक्षम सार्वत्रिक सांधे जोडण्याचे प्रकार आहे जे मोठ्या पॉवर ट्रान्समिशन सिस्टममध्ये फरक करते, एक विश्वासार्ह युनिव्हर्सल जॉइंट कपलिंग म्हणून कार्य करते जे ऊर्जा बिलांवर नियंत्रण ठेवते.
शांत आणि स्थिर
मोठ्या आवाजातील यंत्रसामग्री ही खरी समस्या असू शकते, विशेषत: ज्या ठिकाणी आवाज महत्त्वाचा असतो. SWC युनिव्हर्सल जॉइंट कपलिंग गोष्टी शांत ठेवते, सामान्यत: 30-40 dB(A) च्या दरम्यान आवाजाची पातळी असते—सामान्य संभाषणापेक्षा शांत. ज्यामुळे तुम्हाला आवश्यक असलेल्या विश्वासार्हतेचा त्याग न करता, ध्वनी कमी ठेवणे महत्त्वाचे असते अशा वातावरणासाठी ते एक उत्तम कमी-आवाज सार्वत्रिक जोडणी बनवते. फॅक्टरी फ्लोअरमध्ये असो किंवा अचूक वर्कशॉपमध्ये, हे गुळगुळीत चालणारे युनिव्हर्सल जॉइंट कपलिंग रॅकेटशिवाय काम पूर्ण करते.
SWC-BH स्टँडर्ड फ्लेक्स वेल्डिंग प्रकार युनिव्हर्सल कपलिंग हा फक्त दुसरा भाग नाही—मशिनवर प्रचंड ताण असतानाही ते कार्यक्षमतेने शक्ती हलवण्यासाठी तयार केलेले वर्कहॉर्स आहे. ते खरोखर कुठे चमकते ते खाली करूया.
उदाहरणार्थ, जड यंत्रसामग्री आणि बांधकाम उपकरणे घ्या. जेव्हा तुम्ही अत्यंत भार आणि सतत कंपनांना सामोरे जात असाल - उत्खनन किंवा बुलडोझरचा विचार करा - हे कपलिंग मागे पडत नाही. त्याची वेल्डेड रचना अतिरिक्त कडकपणा वाढवते, त्यामुळे ते हलक्या पर्यायांना मागे टाकते जे कदाचित त्या सर्व हालचालींमधून क्रॅक होऊ शकतात किंवा झीज होऊ शकतात. हे उच्च-टॉर्क युनिव्हर्सल कपलिंगचे प्रकार आहे जे काम कितीही खडतर असले तरीही वीज प्रवाहित ठेवते.
कारखान्यांमध्ये, विशेषत: कन्व्हेयर लाइन्स आणि असेंब्ली सिस्टमवर, अचूकता महत्त्वाची असते. हे औद्योगिक-दर्जाचे युनिव्हर्सल कपलिंग कोन हाताळते आणि गती स्थिर ठेवल्याशिवाय संरेखनात बदलते. याचा अर्थ ब्रेकडाउन निश्चित करण्यात कमी वेळ आणि उत्पादन ट्रॅकवर ठेवण्यासाठी अधिक वेळ. अभियंत्यांना ते आवडते कारण ते axial, radial आणि angular misalignments - थोडे बदल जे इतर भागांना फेकून देऊ शकतात.
ऑटोमोटिव्ह आणि वाहतुकीमध्ये, ड्राईव्ह शाफ्टला पॉवर सुरळीतपणे पार करण्यासाठी काहीतरी विश्वसनीय असणे आवश्यक आहे. SWC-BH अगदी बसते, मग ते ट्रक, ट्रेन किंवा इतर वाहनांमध्ये असो. त्याचे फ्लेक्स वेल्डिंग डिझाइन सध्याच्या सेटअपमध्ये स्लॉट करणे सोपे करते, सुरक्षिततेसाठी कोपरे न कापता उच्च गती हाताळते. गो-टू-ड्राइव्ह शाफ्ट युनिव्हर्सल कपलिंग गोष्टी हलवत ठेवण्यासाठी आहे.
सागरी आणि ऑफशोअर काम उपकरणांसाठी कठीण आहे—खारे पाणी, कठोर हवामान, अनपेक्षित भार. हे कपलिंग येथे देखील स्वतःचे आहे. गंज-प्रतिरोधक सागरी युनिव्हर्सल कपलिंग म्हणून, ते मीठ फवारणी आणि खडबडीत समुद्रापर्यंत उभे राहते, जहाजाची इंजिने आणि सहाय्यक यंत्रे सातत्याने चालू ठेवतात. गंज-संबंधित अपयश नाहीत, अनपेक्षित शटडाउन नाहीत.
विंड टर्बाइन आणि सोलर ट्रॅकर्स सारख्या अक्षय ऊर्जा सेटअपला ऊर्जा वाया जाणार नाही अशा भागांची आवश्यकता असते. SWC-BH एक अक्षय ऊर्जा सार्वत्रिक युग्मन म्हणून पाऊल उचलते, क्वचितच कोणत्याही प्रतिक्रियेसह ऊर्जा हस्तांतरित करते. ते जागतिक दर्जाच्या मानकांची पूर्तता करते, त्यामुळे ते युरोपमधील विंड फार्म असो किंवा आशियातील सौरऊर्जा प्रकल्प असो, ते वितरित करते.
Raydafon येथे, आम्ही फक्त या कपलिंगची विक्री करत नाही - आम्ही त्यांना तयार करतो. विशिष्ट आकार, सामग्री किंवा टॉर्क क्षमता आवश्यक आहे? तुमच्या नेमक्या गरजा पूर्ण करण्यासाठी आमचा कार्यसंघ SWC-BH बदलतो. संपर्क साधा आणि आम्ही तुम्हाला तुमच्या सिस्टममधून जास्तीत जास्त फायदा मिळवण्यात मदत करू.
जेव्हा तुम्ही यांत्रिक घटकांवर विश्वास ठेवण्यासाठी कोणीतरी शोधत असाल - विशेषत: SWC-BH स्टँडर्ड फ्लेक्स वेल्डिंग प्रकार युनिव्हर्सल कपलिंग सारख्या गोष्टी — Raydafon हा फक्त दुसरा पर्याय नाही. आम्ही एक निर्माता आहोत जे गुणवत्ता जगतात आणि श्वास घेतात आणि ते आम्ही बनवलेल्या प्रत्येक भागामध्ये दिसून येते.
प्रथम, गुणवत्ता हा आमच्यासाठी विचार नाही. आम्ही उच्च-स्तरीय अभियांत्रिकी तंत्र वापरतो आणि प्रत्येक युनिव्हर्सल जॉइंट कपलिंग ठेवतो—मग ते जड यंत्रसामग्रीसाठी उच्च-टॉर्क असो किंवा फॅक्टरी सेटअपसाठी औद्योगिक-श्रेणीचे मॉडेल असो—कठोर तपासणीद्वारे. प्रत्येक भाग ISO 9001 मानकांची पूर्तता करतो, आणि आम्ही त्यांची कठोर चाचणी घेतो: अत्यंत भार, खडबडीत परिस्थिती, तुमचा उद्योग त्यावर काहीही टाकतो. ध्येय? कोणतेही अनपेक्षित अपयश, तुमच्या ऑपरेशन्ससाठी कमी जोखीम आणि एक जोडणी जी तुमची प्रणाली सुरळीतपणे चालू ठेवते.
मग सानुकूलन आहे. चला वास्तविक बनूया - कोणत्याही दोन नोकऱ्या सारख्या नसतात. कदाचित तुम्हाला विशिष्ट परिमाणांसह ड्राईव्ह शाफ्ट युनिव्हर्सल कपलिंग किंवा गंज-प्रतिरोधक सामग्रीपासून बनवलेले मरीन प्रोपल्शन युनिव्हर्सल कपलिंग किंवा अगदी योग्य टॉर्कसाठी ट्यून केलेले अक्षय ऊर्जा युनिव्हर्सल कपलिंग आवश्यक असेल. आम्ही तुम्हाला "एक-आकार-फिट-सर्व" भाग फिट करत नाही. तुम्हाला काय हवे आहे ते आम्हाला सांगा आणि आम्ही ते तुमच्या विद्यमान सेटअपमध्ये स्लॉट करण्यासाठी तयार करू—मग ते ऑटोमोटिव्ह, सागरी किंवा सौर/पवन प्रणालीमध्ये असो.
आणि आम्हाला ते खर्च देखील महत्त्वाचे आहेत. तुम्हाला चांगली जोडणी आणि वाजवी किंमत यापैकी एक निवडण्याची गरज नाही. आम्ही आमची पुरवठा साखळी ऑप्टिमाइझ केली आहे आणि आमचे उत्पादन वाढवले आहे जेणेकरुन आम्ही गुणवत्तेला कोपरे न कापता - मरीन प्रोपल्शन युनिव्हर्सल कपलिंग किंवा उच्च-टॉर्क औद्योगिक मॉडेल सारख्या विशिष्ट भागांवर स्पर्धात्मक दर देऊ शकतो. हे तुम्हाला टिकणारे मूल्य देण्याबद्दल आहे, फक्त एक स्वस्त भाग नाही जो जलद अपयशी ठरतो.
एकदा तुम्ही “ऑर्डर” मारल्यावर आमची टीम गायब होत नाही. पहिल्या कॉलपासून-जेव्हा तुम्ही तुमच्या नूतनीकरणक्षम ऊर्जा गियर किंवा फॅक्टरी लाइनसाठी कोणते युनिव्हर्सल जॉइंट कपलिंग सर्वोत्तम काम करते हे शोधण्याचा प्रयत्न करत असाल तेव्हा-विक्रीनंतरच्या समर्थनासाठी तुम्हाला प्रश्न असल्यास, आम्ही येथे आहोत. आमच्याकडे अनेक वर्षांची उद्योग माहिती आहे, त्यामुळे आम्ही तुम्हाला योग्य निवडीसाठी मार्गदर्शन करू शकतो, तुम्हाला डाउनटाइम टाळण्यात मदत करू शकतो आणि तुमचे कपलिंग तुम्हाला जे हवे आहे तेच करते याची खात्री करू शकतो.
Raydafon मध्ये, आम्ही फक्त भाग विकत नाही - आम्ही भागीदारी तयार करत आहोत. सार्वभौमिक संयुक्त उपायांसह, तुमचे ऑपरेशन पुढे चालू ठेवण्यासाठी आम्ही तुमचा विश्वास असलेली टीम बनू इच्छितो जे तुमच्याप्रमाणेच कठोर परिश्रम करतात. तुम्हाला विशिष्ट गरजा असल्यास, आजच आमच्या तज्ञांशी संपर्क साधा—आम्ही कशी मदत करू शकतो याबद्दल बोलूया.
पत्ता
Luotuo औद्योगिक क्षेत्र, Zhenhai जिल्हा, Ningbo शहर, चीन
दूरध्वनी
ई-मेल


+86-574-87168065


Luotuo औद्योगिक क्षेत्र, Zhenhai जिल्हा, Ningbo शहर, चीन
कॉपीराइट © Raydafon Technology Group Co., मर्यादित सर्व हक्क राखीव.
Links | Sitemap | RSS | XML | Privacy Policy |
